
作者 | 闰然编辑 | 江江

娃哈哈的商业版图里,一场围绕“生产、商标、股权”的博弈早已暗流涌动。
一边是实际掌控商品生产销售的宏胜集团,一边是手握“娃哈哈”金字商标的娃哈哈集团,再加上背后手握46%股权的国资股东,三方的角力从宗馥莉掌权时便逐渐升级。
如今,宗馥莉从万众瞩目的“继承者”,沦为品牌控制权的“出局人”,这场博弈终于露出了清晰的轮廓。
宗馥莉的辞职,某种程度上可以说是在既定利益格局下,她为自己和娃哈哈各自寻得的一种最优解。

打了胜仗后离场
权力棋局再起波澜。
在娃哈哈的业绩高点,宗馥莉选择了放手——辞去娃哈哈集团法定代表人、董事及董事长等核心职务。这份9月提交的辞呈,已在10月10日前走完董事会流程。
10月10日当天,在娃哈哈集团召开的董事会上,除了通过宗馥莉辞职事项外,还任命许思敏为娃哈哈集团总经理,董事长职务空缺。
从2024年8月29日正式接过董事长、法人、总经理三枚印章,到如今交权离场,宗馥莉名义上的掌舵时长仅一年时间。
宗馥莉掌舵时长仅一年/图源:视觉中国她初中就赴美留学,2004年大学毕业回到娃哈哈并从基层做起,2007年担任宏胜饮料集团总裁,2018年担任娃哈哈集团品牌公关部部长,2020年兼任集团销售公司副总经理,2021年出任集团副董事长兼总经理。
自2023年开始,宗庆后就已经让宗馥莉以副总经理身份,“实际上参与公司重大决策”。
从时间上来看,不到三年时间,宗馥莉就完整走过了从夺权、掌权到交权的权力全周期,其中的剧情跌宕得堪比商业传奇小说。
更引人注目的是,她身边逐渐聚拢起一批“宏胜系”骨干。宏胜集团在娃哈哈体系内的“扩张”,早从宗庆后时代就埋下伏笔。彼时,宏胜已手握不少生产与经销商业务,算是宗庆后为女儿铺就的“自留地”。
但宗馥莉接班后,宏胜的扩张速度明显加快。在她的主导下,娃哈哈集团的核心资产——从骨干员工到合作多年的经销商资源,开始批量转签至宏胜,更直接影响了娃哈哈集团的收入与利润。
权力布局的意图不言而喻。至此,娃哈哈集团的角色逐渐从“全链条运营者”退化为了“商标持有方”,其重心彻底转向商标使用权的管理,宏胜则成了实际的“生产销售主力军”。
外部关停低效工厂,内部推行高效革新,改革的刀刃从未如此锋利。没人否认娃哈哈的旧体系需要改,毕竟,宗庆后时代的“人治”模式,家族企业的保守风格,早已不适应这个变化节奏这么快的市场。
但拆了旧架子就能搭起新体系吗?
事实上,在这些旧架子上,还有支撑娃哈哈数十年的利益平衡,盘根错节。此外,错综复杂的股权关系,也让宗馥莉的权力根基从一开始就埋着隐患。
在组织层面的震荡下,家族内斗的漩涡与股权迷宫也藏在其中。从“独女稳稳接班”到“天降弟妹抢家产”,宗家复杂的家族关系网将企业的传承困局,暴露得明明白白。
与此同时,最具戏剧性的反差体现在了业绩报表里。2024年,53%的营收增速创下娃哈哈史上最高纪录,2025年一季度增速仍超30%。没有哪家企业会在“打了胜仗”之际换帅,但宗馥莉偏偏成了例外。
胜仗刚打完,就面临换帅,这种情况在企业案例里也不多见。图为娃哈哈乳制品自动化生产流水线/图源:视觉中国复杂局面中,这场权力更迭留下了一个耐人寻味的注——改革的锐气,正好撞上了家族的暗流与股权的迷局,即便是创下历史最佳业绩的掌舵者,也未必能握紧手中的船舵。
而娃哈哈的航向,已然迎来新的转折。

娃小宗,开微博
一个更关键的问题浮出水面:这位曾执掌中国饮料巨头的“二代舵手”,究竟要去哪儿?
截至目前,杭州娃哈哈集团有限公司的法定代表人依然是宗馥莉,最近一次变更日期停留在2024年8月29日。如今,她的辞职消息已出,工商信息还未跟进变更。
娃哈哈这家1987年起家的企业,从白手起家到全球领先的食品饮料巨头,稳居中国企业500强、民营企业500强之列。而它股权结构像“鼎”一般,从一开始就埋下了制衡的基因。
最大股东是持股46%的杭州市上城区文商旅投资控股集团有限公司——这家由区财政局100%控股的国资平台,手握绝对的话语权。宗馥莉持股29.4%,是从宗庆后那继承的“家底股”。剩下的24.6%则归属杭州娃哈哈集团有限公司基层工会联合委员会(职工持股会),牵扯着数千员工的利益。
娃哈哈,从1987年起家/图源:视觉中国而最关键的“命门”,恰恰在“娃哈哈”这三个字的商标权。在现行股权架构下,这个陪伴了几代人成长的品牌,其使用权有着一条铁律:必须获得全体股东一致同意,否则任何一方都无权单独使用。
商标转让的失败,更成了博弈的关键转折点,这也让宗馥莉意识到,在国资主导的股权架构下,“娃哈哈”商标,她始终无法完全掌控。“另起炉灶做自己的品牌”,成了她退无可退的选择。
一场早有预谋的品牌突围战,也就此浮出水面。10月11日,一个名为“娃小宗”的微博账号完成了平台认证,认证主体直指宏胜饮料集团有限公司,审核通过时间恰好是9月30日——距离宗馥莉辞职消息曝光仅10天。
尽管这个账号目前尚未发布任何内容,但已在一天时间内迅速积累了上万粉丝。它的出现,像是一枚提前埋下的信号弹,是宗馥莉脱离娃哈哈后的新战场。
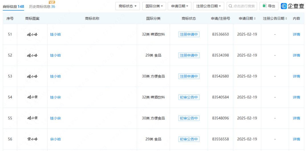
更早的伏笔,也早就体现在了2025年的商标注册记录里。2月至5月,宏胜饮料集团有限公司密集申请了几十个“娃小宗”商标,虽然多数还处于“等待实质审查”阶段,但最核心的几类商标已完成初步审定,相当于为“娃小宗”的上市铺平了关键道路。

宏胜饮料申请注册多款商标
而这场转型中,一个关键人物的动向格外引人关注——宏胜饮料集团有限公司生产中心总监严学峰。这位被外界视作宗馥莉“心腹”、娃哈哈核心人物的高管,在10月10日被知情人士证实已回到宏胜集团正常上班。但就在不久前的10月2日,媒体报道称严学峰因涉嫌违纪,被杭州市上城区纪律检查委员会立案审查,另有最新报道,他在10月5日被解除立案审查。
宗馥莉虽然离开了娃哈哈的核心管理层,但她通过宏胜,依然维系着与娃哈哈生态的紧密联系,而“娃小宗”的崛起,或许正是她在现有格局下,突破股权与商标困局的一次重要尝试。
这一次的离开注定不是终点。

何至于此
宗馥莉何至于此?
只是因为商标使用“不合规”吗?
宗馥莉第二次辞去集团核心职务的消息传开时,10月11日,她的叔叔宗泽后在朋友圈写下的一段话,揭露了这场家族商战里最隐秘的中式逻辑——“在中国这个环境,得讲人情世故”,而这恰恰是宗馥莉被指“天真”的地方。
“好多朋友来问我,宗馥莉第二次辞职是怎么回事。”宗泽后的文字里带着几分过来人的感慨,他翻出第一次辞职时的朋友圈,字字句句都在点破这场接班困局的核心。

“当初我就说,她最大的问题是搞错了顺序。接班娃哈哈,不该一上来就想做大规模、赚快钱、大刀阔斧改现状。首要该做的,是做好事、做慈善,让所有人都认可你。在这个过程里,问题会自己冒出来,人才也会自己显出来,接班的事自然水到渠成。”
宗泽后也道出:“娃哈哈从根上算,国家是大股东,当然得听国家的。要是全是自家股份,你想怎么折腾都行;可在国企体系里,你就是个职业经理人,必须夹着尾巴做人。”
这番话像一面镜子,照出了宗馥莉在权力场中的认知偏差——她或许懂商业、懂市场、懂怎么赚钱,却没吃透中式企业里“权力平衡”与“人情世故”的潜规则。
宗泽后承认,在宗家下一代里,宗馥莉已是“出类拔萃”的存在。
但宗泽后也毫不客气地说,宗馥莉“对博大精深的中国文化了解太少”。
“过去说德艺双修才能成正果,德没修成,艺也没学成,如何能承担大任?”
最后那句感叹更是意味深长:娃哈哈从来不是宗家的私产,是宗家跟无数员工、无数消费者一起拼出来的品牌。它陪着“80后”“90后”长大,往后他们的孩子,说不定还会怀念这份童年里的甜味。
娃哈哈与消费者一块前行、成长/图源:娃哈哈宗泽后的这番话,道破了宗馥莉接班之路从一开始就注定的崎岖——宗庆后数十年事无巨细的“亲力亲为”,早已把娃哈哈打造成了一座“个人色彩浓郁的商业王国”,也让“二代交接”成了一场难破的困局。
股权可以继承,但权威很难。
这场困局的伏笔,早在2024年7月第一次辞职时就已埋下。
那天,一封宗馥莉亲笔签名的《致娃哈哈全体员工的函》突然流出,瞬间在舆论场炸了锅。信里直言,因“其他股东质疑”,她已书面申请辞去副董事长与总经理职务——寥寥数语,把企业股东间的不和摆到了台面上,也暴露了她在权力博弈中的“不擅迂回”。

宗馥莉亲笔签名的《致娃哈哈全体员工的函》
从辞职到留任,七天里的“闪退闪回”,是一次矛盾的激化,也像一场充满戏剧性的权力试探。可谁也没想到,这场看似结束的交接,最终还是在一年多后,以第二次辞职画上句号。
如今,宏胜集团掌控了生产销售的“实”,娃哈哈集团握着商标的“名”,国资股东则用股权把控着最终的话语权。
值得注意的是,宗馥莉为“娃小宗”定下了一个野心勃勃的目标:年销售300亿。
从这个目标能看出,这场被外界称之为“体面的切割”背后,宗馥莉并未收缩野心,反而试图用娃小宗复制甚至超越娃哈哈的辉煌。宗馥莉的突围战,从一开始就带着背水一战的决绝。
有意思的是,时至今日,宗泽后也“另立门户”了。

宗泽后
10月10日,“娃小智”品牌在杭州举行了招商会。而娃小智的董事长正是宗泽后。天眼查信息显示,杭州宗盛商业发展有限公司拥有“娃小智”在方便食品、啤酒饮料、食品等娃哈哈主营业务相关的商标,而该公司实控人吴坚则是宗泽后的心腹。
据蓝鲸新闻报道,在这场招商会上,“娃小智”的招商人员表示,“我们从国庆节前后开始做娃小智,这边属于宗氏家族,就是宗泽后这边,相当于我们要和宗馥莉一起竞争市场。目前成为代理没有保证金,首次拿货不低于3万块钱就可以了”。
宗庆后的胞弟对上了宗庆后的女儿,谁会赢呢?
本文首发于南风窗旗下财经新媒体盐财经

-END-
值班主编 | 吴擎
排版 | 顾芗 菲菲
]article_adlist-->点击图片 即刻购买(广告) ]article_adlist-->



未经授权 禁止转载
欢迎分享至 朋友圈
]article_adlist-->投稿、投简历:newmedia@nfcmag.com广告、商务合作:
Wang838645293

海量资讯、精准解读,尽在新浪财经APP
龙辉配资提示:文章来自网络,不代表本站观点。